W12 | 癮車報 Skip to content
癮車報

癮車報

  • 首頁
  • 台北車展
  • 國際車展
  • show girl
  • 趣味離奇
  • 性能車款
  • 國際新聞
  • 國內新聞
  • 車廠分類
  • 新車發表
  • 深度試駕
  • 特別企劃
  • 汽車常識

標籤: W12

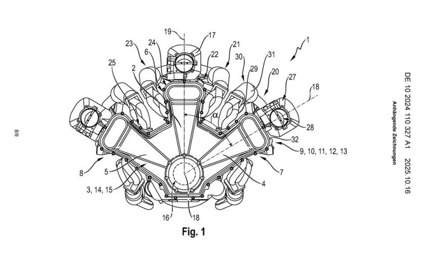
Porsche申請新型W12引擎專利 可能搭載三渦輪增壓技術

On 2025 年 10 月 21 日 By kun In Porsche, 國際新聞, Porsche /保時捷

在2024年7月,Bentley(賓利)宣告揮別經典的W12引擎,結束了這款跨越兩個世代、象徵現代豪華車精神的傳奇動力。不過,就在一段歷史落幕之際,另一個故事正在悄悄展開 …

繼續閱讀

最強勁的心臟 從數字看全球最強勁W12引擎

On 2016 年 5 月 4 日 By kun In 豪華房車, 國際新聞, 休旅車, Bentley /賓利, 英國車系

今年春季起,全球首款超豪華SUV——Bentayga即將交付給翹首以待的車主。Bentayga上市之初,就成為全球最快、最強勁SUV,這個頭銜並非 …

繼續閱讀

換心計畫開始!VW最新的W12 6.0升TSI引擎將會應用於Bentayga、A8、Phaeton、Continental以及Flying Spur上!

On 2015 年 6 月 6 日 By In 國際新聞, 汽車科技, Audi /奧迪, Bentley /賓利, VW, VW /福斯

Volkswagen日前宣布,近期推出的W12 6.0升TSI引擎即將安裝於該集團旗下幾款高階車款上。     在幾個月前的2015維也納汽車研討會上 …

繼續閱讀

最新文章

  • GTA新素材!闖入工地 “接線” 啟動工程車,最後換來9發槍響與重罪起訴
  • Nissan 2027 Fairlady Z小改款登場 Nismo版終於補上手排設定
  • 民用戰車再進化 2026 Rezvani Tank加入1000匹動力+防護全面升級
  • 保時捷正式認栽,承認在 Macan 的電動化策略上徹底搞砸?

標籤

4 Door Coupe 599 GTB 599 GTB Fiorano CLA CLA Spy Shots concept Enzo F70 Ferrari 599 GTB Ferrari Enzo Ferrari F70 Germany i8 i8 Hrbrid Sports Coupe LEXUS百萬挑戰賽 Lexus百萬挑戰賽-創意DNA‧夢想無界限 luxury Mercedes-Benz Pebble Beach Pebble Beach Concours d'Elegance Q5 Q5極勁特仕版 sales SUV Sweden V60 wagon 中國 凌志 和泰 和泰汽車 國瑞 國瑞汽車 國瑞汽車活動 國際富豪 富豪 德國 汎德 獎學金 瑞典 豐田 賓士 車商活動 輪式裝載機 銷量

Recent Posts

  • GTA新素材!闖入工地 “接線” 啟動工程車,最後換來9發槍響與重罪起訴
  • Nissan 2027 Fairlady Z小改款登場 Nismo版終於補上手排設定
  • 民用戰車再進化 2026 Rezvani Tank加入1000匹動力+防護全面升級

Popular Tags

4 Door Coupe 599 GTB 599 GTB Fiorano CLA CLA Spy Shots concept Enzo F70 Ferrari 599 GTB Ferrari Enzo Ferrari F70 Germany i8 i8 Hrbrid Sports Coupe LEXUS百萬挑戰賽 Lexus百萬挑戰賽-創意DNA‧夢想無界限 luxury Mercedes-Benz Pebble Beach Pebble Beach Concours d'Elegance Q5 Q5極勁特仕版 sales SUV Sweden V60 wagon 中國 凌志 和泰 和泰汽車 國瑞 國瑞汽車 國瑞汽車活動 國際富豪 富豪 德國 汎德 獎學金 瑞典 豐田 賓士 車商活動 輪式裝載機 銷量

Copyright © 2023 InCar 癮車報 | 關於我們 | 隱私權政策 | 網站代管:Fast Line 台灣速連